苹果新专利曝光:折叠屏手机引入弹簧层技术提升耐用性
来源:ITBear科技资讯
时间:2024-04-29 13:36:28 113浏览 收藏
学习知识要善于思考,思考,再思考!今天golang学习网小编就给大家带来《苹果新专利曝光:折叠屏手机引入弹簧层技术提升耐用性》,以下内容主要包含等知识点,如果你正在学习或准备学习科技周边,就都不要错过本文啦~让我们一起来看看吧,能帮助到你就更好了!
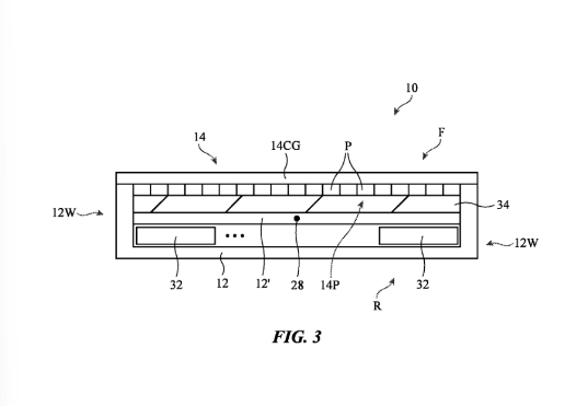
在最近的消息中,苹果公司获得了一项关于折叠屏幕手机的专利,该专利由美国商标和专利局(USPTO)公布。这项专利主要引入了一个全新的弹簧层概念,以减轻折叠时的压力,并提高折叠屏手机的耐用性。

据专利描述,这个创新的弹簧层是由金属弹簧阵列精细构成,其中巧妙地嵌入了如应变计等传感结构的力传感器。苹果公司甚至提出,在需要时,可以将泡沫柱等可压缩结构与弹簧相结合,以此来精细调整弹簧层的性能,从而达到更优化的效果。




该弹簧层可使用各种柔性金属,例如弹簧钢、镍铬合金、铝合金、铜合金等,这些金属属都具有良好的弹性和耐久性。据小编了解,这种弹簧层的设计具有双重优势。一方面,它能在设备受到撞击或挤压时,有效缓解外部压力,避免设备过度变形;另一方面,在屏幕反复折叠和展开的过程中,它也能有效缓解应力影响,大大提高折叠屏手机的耐用性。
这一专利的获得无疑为苹果公司在折叠屏手机领域的进一步发展奠定了坚实的基础,并可能引领折叠屏手机技术的新一轮革新。
声明:本文转载于:ITBear科技资讯 如有侵犯,请联系study_golang@163.com删除
相关阅读
更多>
-
501 收藏
-
501 收藏
-
501 收藏
-
501 收藏
-
501 收藏
最新阅读
更多>
-
488 收藏
-
155 收藏
-
134 收藏
-
158 收藏
-
218 收藏
-
105 收藏
-
365 收藏
-
226 收藏
-
377 收藏
-
349 收藏
-
150 收藏
-
199 收藏
课程推荐
更多>
-
- 前端进阶之JavaScript设计模式
- 设计模式是开发人员在软件开发过程中面临一般问题时的解决方案,代表了最佳的实践。本课程的主打内容包括JS常见设计模式以及具体应用场景,打造一站式知识长龙服务,适合有JS基础的同学学习。
- 立即学习 543次学习
-
- GO语言核心编程课程
- 本课程采用真实案例,全面具体可落地,从理论到实践,一步一步将GO核心编程技术、编程思想、底层实现融会贯通,使学习者贴近时代脉搏,做IT互联网时代的弄潮儿。
- 立即学习 516次学习
-
- 简单聊聊mysql8与网络通信
- 如有问题加微信:Le-studyg;在课程中,我们将首先介绍MySQL8的新特性,包括性能优化、安全增强、新数据类型等,帮助学生快速熟悉MySQL8的最新功能。接着,我们将深入解析MySQL的网络通信机制,包括协议、连接管理、数据传输等,让
- 立即学习 500次学习
-
- JavaScript正则表达式基础与实战
- 在任何一门编程语言中,正则表达式,都是一项重要的知识,它提供了高效的字符串匹配与捕获机制,可以极大的简化程序设计。
- 立即学习 487次学习
-
- 从零制作响应式网站—Grid布局
- 本系列教程将展示从零制作一个假想的网络科技公司官网,分为导航,轮播,关于我们,成功案例,服务流程,团队介绍,数据部分,公司动态,底部信息等内容区块。网站整体采用CSSGrid布局,支持响应式,有流畅过渡和展现动画。
- 立即学习 485次学习